| 1 |
 |
Réf. usine : P0028147/P09E
Plaque obturatrice -peint gris p0028147/p09e
|
42,00 EUR |
| 10 |
 |
Réf. usine : P0013447
Raclette p0013447
|
14,40 EUR |
| 11 |
 |
Réf. usine : P0045661
Poignee tisonnier p0045661
|
14,40 EUR |
| 12 |
 |
Réf. usine : P0027091
Goupille cannelee - 8-24 - iso 8745 p0027091
|
10,80 EUR |
| 13 |
 |
Réf. usine : POT20337
Clenche p0t20337
|
54,00 EUR |
| 14 |
 |
Réf. usine : P0T46006/P06B
Porte fonte bombee -peint noir p0t46006/p06b
|
206,40 EUR |
| 15 |
 |
Réf. usine : D0045928
Kit tresse noire diam 15 d0045928
|
60,00 EUR |
| 16 |
 |
Réf. usine : P0047502 P0045915
Grille foyer complete pour inserts deville 7706, 7726, 7727, 7728, 7729, 7920, 7921, 7922, 7925, 7856, 7873, 7831, 7839, 7841, 7843, 7846
|
194,40 EUR |
| 17 |
 |
Réf. usine : P0020180
Plaque arriere deville p0020180 pour inserts 7660, 7670, 7706, 7726, 7727, 7729, 7794, 7795, 7796, 7831, 7856, 7857, 7873, 7920
|
86,40 EUR |
| 18 |
|
Réf. usine : P0047202
Deflecteur deville p0047202 pour inserts 7706, 7726, 7727, 7729, 7747, 7850, 7851, 7853, 7857, 7831, 7832, 7856, 7852
|
54,00 EUR |
| 19 |
 |
Réf. usine : P0U20181
Avaloir usine p0u20181 pour insert 7856
|
49,20 EUR |
| 2 |
 |
Réf. usine : P0034296
Ens. corps soude p0034296
|
354,00 EUR |
| 20 |
 |
Réf. usine : P0046112/P09E
Guide d'air superieur -peint gris p0046112/p09e
|
38,40 EUR |
| 21 |
 |
Réf. usine : P0046092
Support volet p0046092
|
32,40 EUR |
| 22 |
 |
Réf. usine : P0046111/P09E
Ens. volet -peint gris p0046111/p09e
|
50,40 EUR |
| 23 |
 |
Réf. usine : P0046107
Etancheite p0046107
|
38,40 EUR |
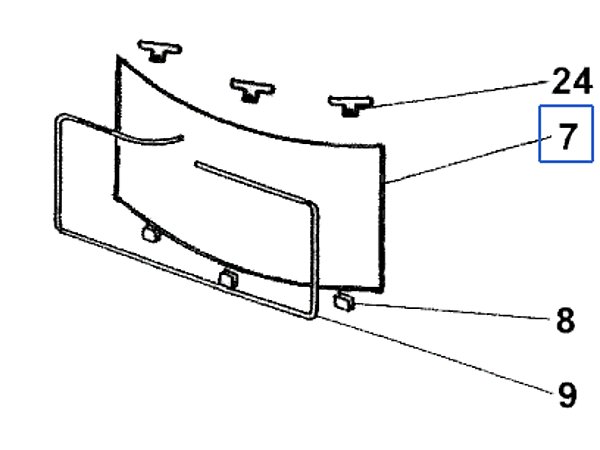
| 24 |
 |
Réf. usine : P0046122
Patte de serrage p0046122
|
12,00 EUR |
| 3 |
 |
Réf. usine : P0051264/P06P
Verrou de porte p0t18055 (nouvelle reference p0051264/p06p)
|
21,60 EUR |
| 30 |
 |
Réf. usine : P0045915
Grille p0045915 pour corbeille deville p0047502 p0047512 p0051391 p0021612
|
50,40 EUR |
| 4 |
 |
Réf. usine : P0028062
Ecran p0028062
|
33,60 EUR |
| 5 |
|
Réf. usine : P0020075
Anse de cendrier p0020075
|
14,40 EUR |
| 6 |
 |
Réf. usine : P0019785
Cendrier p0019785 deville pour inserts 7706, 7726, 7727, 7729, 7850, 7852, 7853, 7854, 7855, 7356, 7856, 7857, 7868, 7870, 7920, 7921, 77ap
|
50,40 EUR |
| 7 |
 |
Réf. usine : P0046026
Verre bombe p0046026
|
362,40 EUR |
| 8 |
 |
Réf. usine : P0034367
Profile entretoise - prof. 15/10 p0034367
|
57,60 EUR |
| 9 |
 |
Réf. usine : D0045937
Kit tresse d.6mm d0045937 deville pour 7335, 7662, 7670, 7708, 7709, 7783, 7789, 7841
|
25,20 EUR |