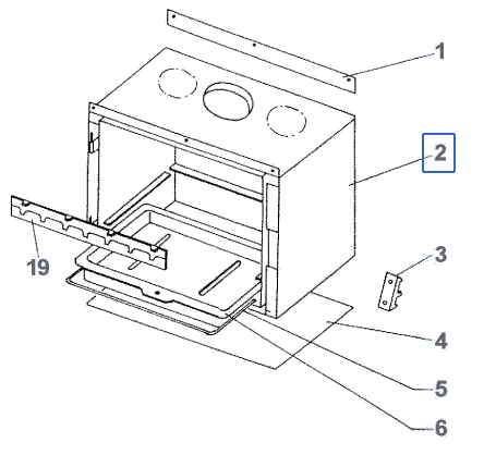
ENS. CORPS SOUDE P0034296
Ens. corps soudé - Pièce détachée Deville pour FOYER INSERT BOIS 9 KW C07856.PTxx — Marque : Deville Ménager éclaté CO7831.PT09
Informations principales
Ce produit est présent sur les éclatés suivants :
- Numéro 2 sur l’éclaté FOYER INSERT BOIS DEVILLE CO7831PTxx
Éclaté : FOYER INSERT BOIS DEVILLE CO7831PTxx

























